
Russia says it has advanced with static tests of the engine that will equip the PAK DA, a stealth strategic bomber that has been developed for several years by Tupolev.
According to TASS, the manufacturer UEC-Kuznetsov has completed several static tests with prototypes of the turbofan, whose designation is not known.
“Several prototypes of the engine have already passed part of the bench tests, now the tests are underway, according to their results, we can say that the engine confirms the parameters established in it,” said an agency source.
PAK DA (acronym for Prospective Aviation Complex for Long-Range Aviation) is one of the most ambitious military aircraft projects in Russia, but it has experienced several delays and difficulties like other similar programs.
The Russian Air Force now depends on old Tu-22M and Tu-160 supersonic bombers, designed in the days of the Soviet Union, but it intends to have a penetrating aircraft capable of avoiding detection by radar.

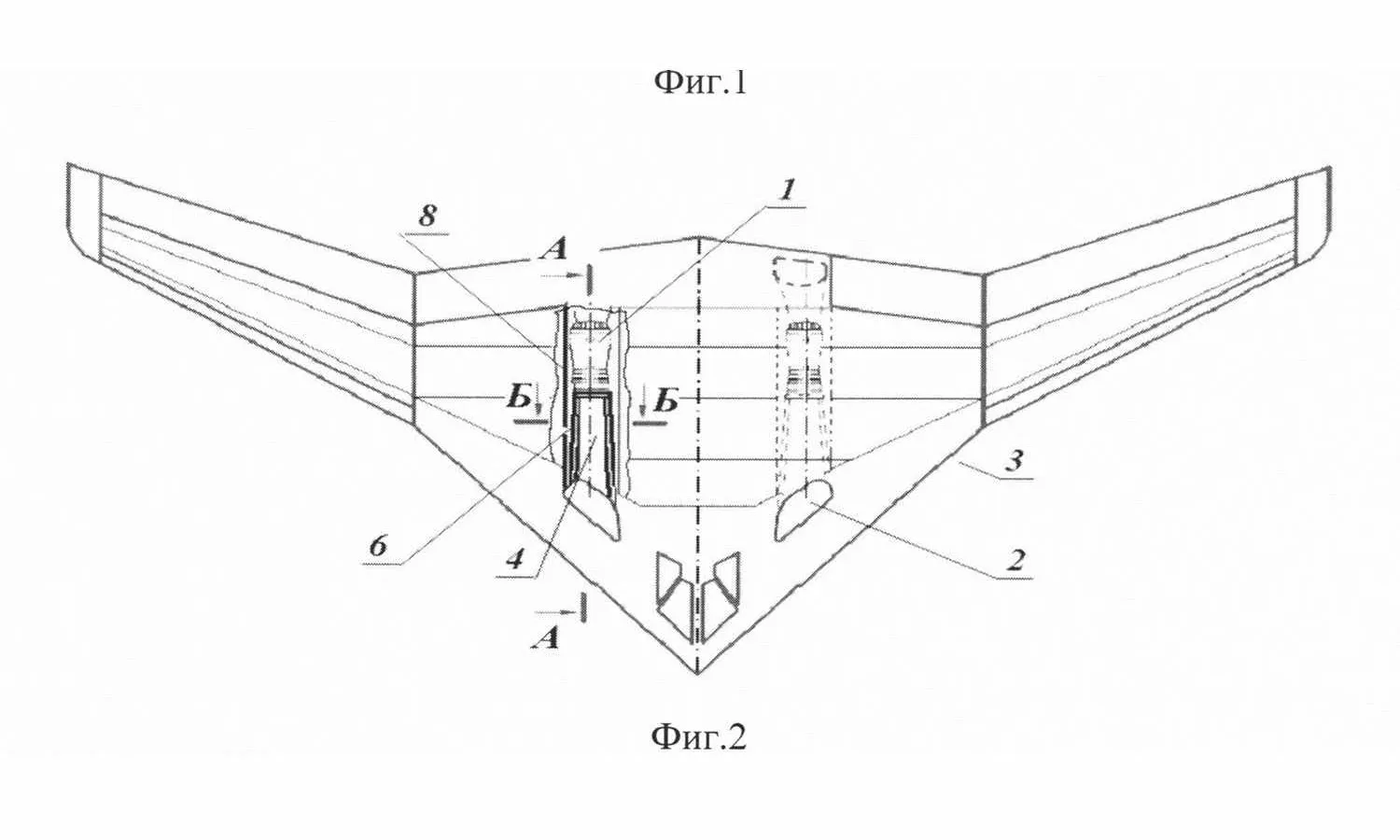
To date, no conceptual image has been released, but drawings of a flying wing have appeared in official documents.
Like the B-2 and B-21, the PAK DA will have a flying wing configuration. Because of this, its speed will be subsonic and will carry long-range cruise missiles, high-precision bombs and hypersonic weapons in its internal weapons compartment.
As of 2020, there are reports from the Russian government that the PAK DA is in production, with several prototypes on the assembly line. The final project was approved in April 2021.
Russia's hope is to put the aircraft into service in 2027.
