DefenseAirbus Flexrotor selected for European maritime surveillance missionsContract with EMSA to deploy VTOL UAV operations across multipurpose coast guard tasksDecember 17, 2025Read More
DefenseChina’s CH-7 stealth UAV completes first flightThe new autonomous flying wing was developed by CASC and joins several other advanced Chinese models undergoing testingDecember 15, 2025Read More
TechnologyChina’s 16-ton Jiutian military drone completes maiden flightHigh-payload UAV designed for long-range missions and autonomous drone deployment enters operational testing phaseDecember 11, 2025Read More
DefenseSikorsky launches Nomad drone family with hybrid-electric VTOLsNomad series targets multi-domain missions with scalable VTOL UAVs and autonomous MATRIX technologyOctober 06, 2025Read More
DefenseLockheed Martin Skunk Works unveils Vectis collaborative combat droneNew stealth UAV aims to enhance air dominance and multi-domain integration for US and allied forcesSeptember 22, 2025Read More
Air TransportChina completes maiden flight of drone capable of carrying 1,000 kg of cargoYitong's TP1000 aircraft took off from Qingdao's Laixi Dianbu Airport on SaturdayMarch 17, 2025Read More
DefenseBrazilian Navy makes first ScanEagle drone launchRemotely piloted aircraft will be used in reconnaissance, surveillance and search and rescue missions from their shipsJuly 02, 2022Read More
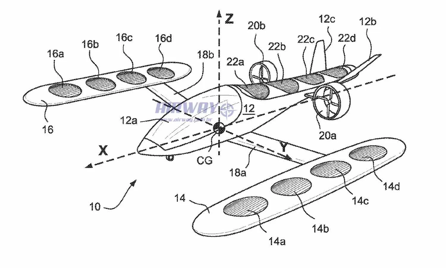
TechnologyThe curious designs of aircraft patented by Embraer in the USPlanemaker keeps a database of concepts for electric, unmanned aircraft and some very unusual ideasFebruary 06, 2022Read More
DefenseDrone S-70 Okhotnik has a second prototypeSukhoi unmanned aircraft was unveiled this week with low radar signature nozzleDecember 17, 2021Read More
DefenseMQ-25 tanker drone performs first aerial refuelingBoeing unmanned aircraft successfully refueled a US Navy F/A-18 fighter on FridayJune 07, 2021Read More