
Embraer is a manufacturer with a broad portfolio of aircraft ranging from business jets, through its line of commercial aircraft and models for military use, especially the KC-390.
But the Brazilian company is more than that, as can be seen with the initiative of Eve, a start-up that explores the nascent urban air mobility (UAM) market.
Faced with the challenge of thinking about new aircraft concepts, Embraer has encouraged its teams to develop unusual projects, in search of unprecedented solutions that can be adopted in the future.
Knowing what is happening inside the company's headquarters is something quite difficult, but examples of the genius of Embraer's minds can be seen in the US patent filings.
The USPTO (United States Patent and Trademark Office) keeps some very interesting projects by the Brazilian company, most of them involving small aircraft, especially designs for eVTOL aircraft, which it is not known if they will one day be used by the Eve.
We have selected some of the most interesting projects below:

In 2019, Embraer filed an application for registration of a VTOL, apparently electric, that would be equipped with eight rotors distributed in two sets fixed on short-span wings with winglets. The horizontal thrust would be provided by a pusher rotor installed in the tail to reduce drag. The model appears to have a small capacity, for up to six occupants.
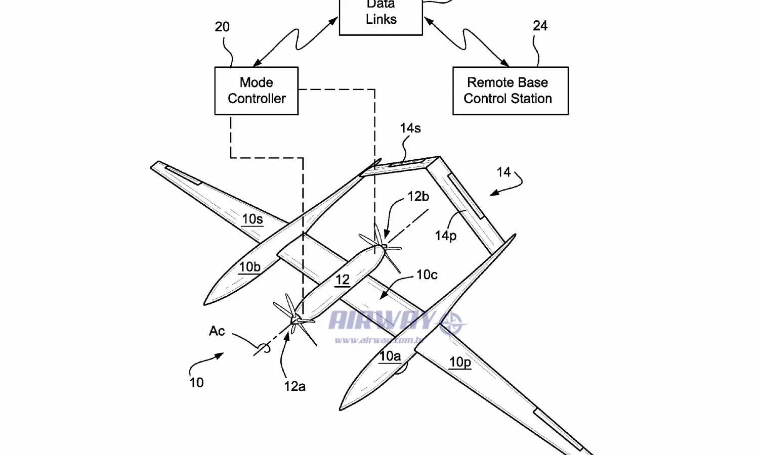
One of the most intriguing drawings is of an unmanned aircraft reminiscent of Burt Rutan's Voyager, the American who created dozens of eccentrically shaped planes. The twin-engine has propellers installed in front and behind the fuselage, attached to a huge wing that, in turn, accommodates two nacelles that are units by the stabilizers in an inverted "V".
The project suggests a military use in reconnaissance missions. The registration entry date is 2019 and Embraer obtained the patent in February last year.

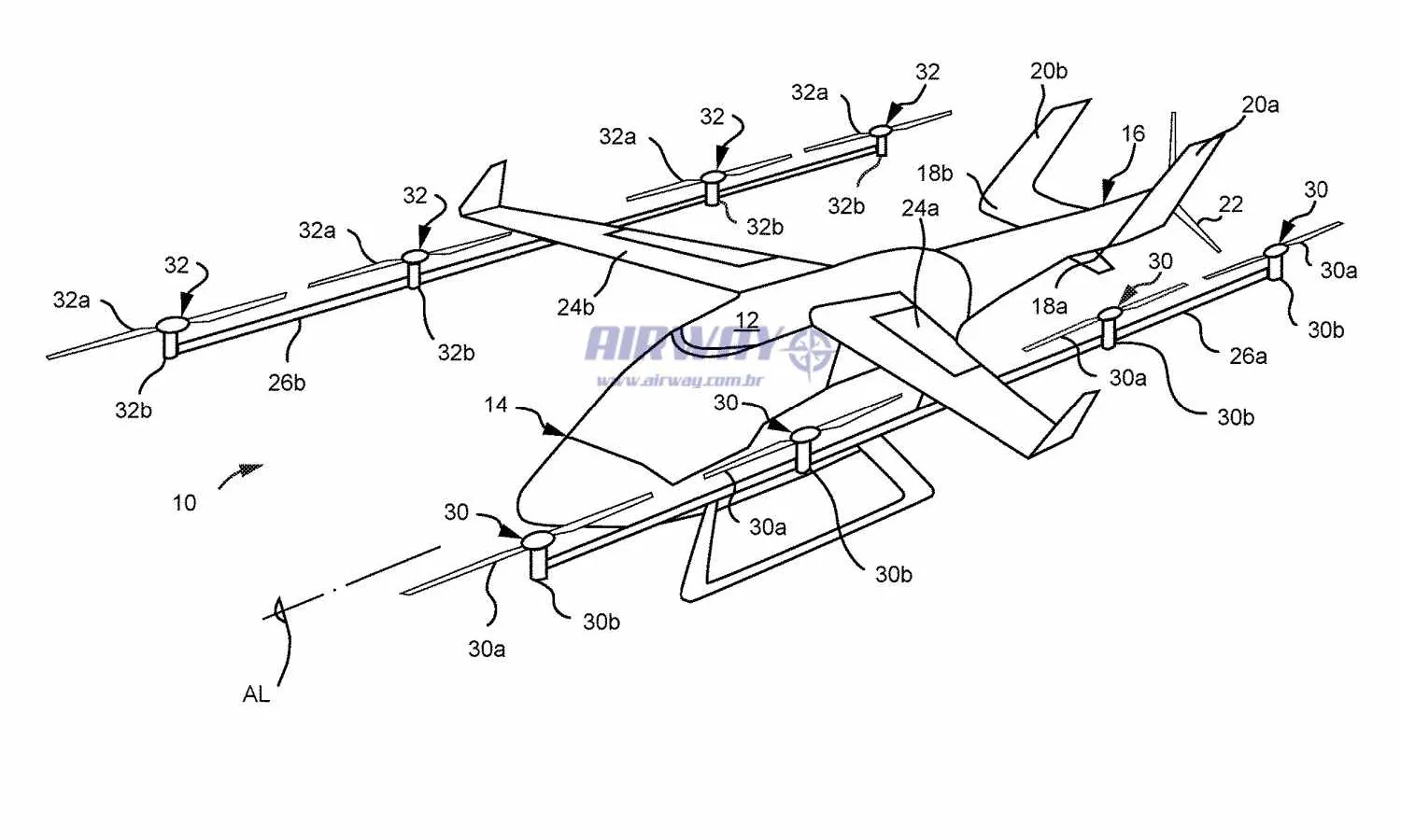
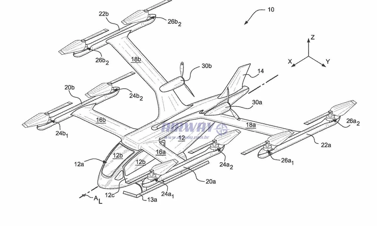
Between 2019 and 2020, the company registered a very similar eVTOL aircraft project with the model that Eve is expected to put into production in the future. However, the patent concept seems to have a larger size and its thrust rotors do not have fairing, which may indicate an earlier design than the current one.
Last year, Embraer filed a patent application for a futuristic-looking project. It is a vertical or short take-off and landing aircraft using counter-rotating pivoting propellers. The wings and stabilizers of the plane proposed by the company use the 'diamond' configuration and above the cabin is an air intake for an engine installed in the tail. Undoubtedly, a very interesting project.

Three years ago, Embraer presented to the USPTO a very original design for a small, vertically operated aircraft. Instead of propellers, it has three sets of rotors installed in the fuselage and in side pods, as well as horizontal propulsion by two other faired rotors.
In Embraer's short description, this plane would be able to compensate for an eventual rotor failure due to the right and left set rotating in opposite directions while the four fuselage rotors would be split in both directions.
We may never see these unusual shapes in the skies, but surely they can inspire new projects that probably are on the way.
